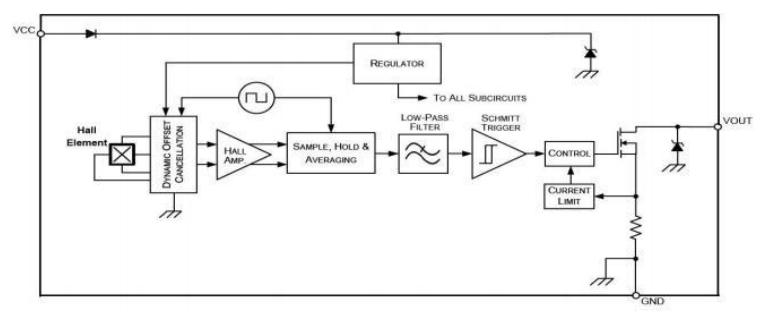
万彩网100线路HK501 是一款基于 BCDMOS 技术设计的高灵敏度双极霍尔开关芯片。芯片包 括温度补偿、比较器和输出驱动器。此外 ,机械应力对芯片的磁性参数影响很小 ,适 用于工业环境和汽车应用 ,且符合 AEC-Q100 汽车电子行业测试标准。
该芯片是一种单片集成电路。如果将垂直于敏感区域的磁通线的磁场施加到芯片 上 ,偏置使霍尔电压与磁场成正比。 霍尔电压与比较器中的实际阈值电平进行比较 ,如果磁场超过阈值水平 ,则输出 开关到适当的状态。内置的回差消除了振荡 ,并提供了锁存的输出开关状态。该芯片 使用斩波补偿技术可以补偿由机械应力引起的偏移 ,且内置反向电压保护 ,无需电源 线上的串联电阻或二极管。 在以下任何一种故障情况下 ,漏极开路输出都被强制进入安全的高阻抗状态 :过 热和欠压。 另外 ,输出电流受到限制 (短路保护 )

特性:
低功耗:2.5mA
万彩网100线路工作电压:2.7 V~30 V
ESD 高达:土12KV
有较强的抗机械应力特性
温度范围:-40°C~150°C
电源引脚具有反向电压保护

应用:
万彩网100线路速度和 RPM 传感器
转速表传感器
流量传感器
直流电动机
电机和风扇控制
机器人控制
近距离传感器
安全扣带
引擎盖/后备箱门锁
天窗/活顶/后挡板/提升门启动
刹车/离合器踏板
电动助力转向系统( EPS)
变速器换挡
刮水器电机
位置传感器